Рекомендации по установке
Ошибку F28 газовый котел «Вайлант» может выдавать из-за некорректного монтажа агрегата. Поэтому установку прибора необходимо обязательно согласовывать с распределяющей газовой компанией.
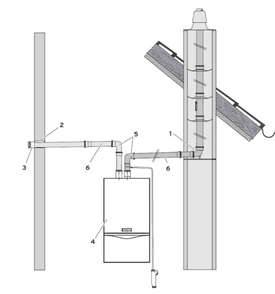
Также необходимо правильно определить, в каком именно отверстии в стене будет проходить дымоход. Некоторые части конструкции дома могут быть слишком прочными и толстыми для подобной техники.
При первом подключении котла необходимо обязательно использовать стабилизатор напряжения
При этом важно следить за полярностью

Чтобы не сталкиваться с тем, что котел «Вайлант» выдает ошибку F28, необходимо правильно производить подключение. Нужно понимать, что только профессиональные специалисты смогут произвести эту процедуру в соответствии со всеми требованиями.
Если монтаж производится самостоятельно, то необходимо составлять проект отопительной системы и заверять его в соответствующих инстанциях. При самостоятельном или некачественном монтаже могут возникнуть серьезные неполадки.
Не перезапускается
Причин отказа в перезапуске котла очень много. Назвать их все пpaктически невозможно, так как большинство неполадок так или иначе приводит к блокировке установки, и перезапуск становится невозможен, пока причина не будет устранена. Однако, некоторые возможные причины можно назвать сразу.
Например, может оказаться перевернута вилка питания в розетке. Газовые котлы Vaillant фазозависимы, т.е. не могут работать при перефазировке контактов. Если во время ремонтных работ произошло переподключение, запуск агрегата станет невозможен.
Кроме того, возможно засорение сажей форсунок, которые перестают пропускать газ в нужном количестве, вследствие чего при запуске сразу следует блокировка.
Популярные неисправности газовых котлов Vaillant
В процессе эксплуатации оборудования постоянно возникают ситуации, когда тот или иной узел оказывается под увеличенной нагрузкой и может выйти из строя.
Ситуации могут возникнуть самые разные, но большинство из них могут быть систематизированы и классифицированы как наиболее типичные. Производитель заботится о надежности работы своих агрегатов.
Конструкция каждой установки содержит набор специальных датчиков, которые мониторят состояние определенных деталей и оповещают пользователя при появлении сбоев режима или отказов того или иного элемента. Эти датчики составляют систему самодиагностики, которая подает сигналы на электронную плату управления.
Наличие такой системы значительно облегчает процесс локализации возникшей неисправности, позволяет обнаружить ее на ранней стадии. Код ошибки имеет приоритет перед другими системными сообщениями и выводится на дисплей в любой ситуации.
Это облегчает ремонт и обеспечивает сохранность дорогостоящей техники.
Подключение комнатного термостата
Комнатный термостат — это устройство, контролирующее температуру в помещении и регулирующее работу системы отопления в соответствии с ней.
Использование этого прибора позволяет экономить на обогреве около 20 %. Такой эффект достигается благодаря более оперативной корректировке температуры системы. Собственный датчик котла руководствуется температурой теплоносителя.
При потеплении на улице в доме становится слишком жарко, но для системы котла никаких изменений не происходит, пока температура теплоносителя находится в заданных пределах.
Комнатный термостат руководствуется температурой воздуха, поэтому он сразу подает команду на изменение режима обогрева.
Для подключения прибора используются соответствующие контакты на плате управления, в обычном режиме соединенные специальной перемычкой.
Коды ошибок в котлах Вайлант
Наиболее часто на табло возникают такие ошибки, как F22, 28, 29, 36, 75. Но на самом деле ошибок, которые высвечиваются на экране с помощью кодов, очень много. Большая часть кодов не проявится даже за весь долговременный период пользования, но есть несколько ошибок, которые могут возникнуть при неправильной эксплуатации. Сюда относятся такие ошибки:
- F0 или F1 – требуется проверка кабеля и датчика NTC, который контролирует температурный режим;
- F2 – сбой работы датчика или слом кабеля;
- F5 или F6 – неправильная работа датчика, который выводит продукты горения безопасным способом;
- F10 – короткое замыкание на линии;
- F13 – превышен температурный режим в 130 градусов, что привело к сбою в системе;
- F32 – плохая работа вентилятора.
Ошибок и кодов для них может быть много, но все можно найти в инструкции. В русскоязычной инструкции имеется список наиболее распространенных кодов. Менее распространенными, но все же встречающимися, являются ошибки:
- F11 – указывает на то, что произошло замыкание датчика температуры, установленного в обратной линии;
- F12 – данный вид ошибки появляется только если произошло замыкание датчика водонагревателя;
- F15 – замыкание произошло в наружном датчике отходящих газов;
- F20 – данный вид ошибки появляется, если был плохо подключен датчик перегрева или он находится в нерабочем состоянии. Ошибка указывает на срабатывание защиты от перегрева, который происходит в таких ситуациях;
- F23 – этот код появляется, если в агрегате недостаточно теплоносителя и из-за этого возникает большая разница между показаниями датчиков попадающей и обратной линии. Для устранения этой проблемы достаточно проверить правильность подключения датчиков, производительность наноса, а также его состояние, так как он может быть поврежден или заблокирован;
- F24 – недостаточное количество теплоносителя в самом котле. В такой ситуации температура резко увеличивается. Это может происходить из-за недостаточно давления в самой системе, низкой производительности насоса или его блокировке;
- F61 – нарушается подача сигнала управления к газовым клапанам. В такой ситуации нужно сразу же проверить клапаны или электронику, они могут быть неисправны.
При появлении этих и многих других ошибок на дисплее прибора нужно сразу же провести его диагностику и устранить все ошибки, чтобы предотвратить его выход из строя.
Особенности регулировки
Котлы данного производителя отличаются простотой управления. Однако это не означает, что каждый человек может самостоятельно справиться с такой задачей. Лучше всего производить настройки вдвоем, когда один человек будет крутить кран, а другой – отслеживать положение стрелки давления. Чтобы произвести регулировку температуры воды или отопления, можно воспользоваться специальными вентилями, которые расположены на панели управления. При этом то, насколько вода горячая, будет отображаться на дисплее. Благодаря этому можно увеличить температуру или понизить ее, повернув кран в необходимое положение.

Также о том, что пришло время разобраться, как устранить ошибку F28 в котле «Вайлант», могут просигнализировать специальные световые датчики на панели устройства. Зеленая лампочка загорается в процессе использования нагретой воды. Желтый индикатор говорит о том, что происходит горение газа. Если загорается красный светодиод, то это свидетельствует о неполадках в системе
Также стоит обратить внимание, что в котел заливается исключительно вода. Экспериментов ставить не стоит
Наиболее частые коды ошибок газовых котлов Вайлант
Большинство ошибок котлов Vaillant спровоцированы проведением работ по некачественно выполненному монтажу и дальнейшему настраиванию котла. Для настройки горелки и газового клапана на котле Vaillant необходимо использование газоанализатора. Но не все мастера выполняют это правило.
Настройка оборудования подробно описана в сопроводительных документах.
Газовый котел Вайлант ошибка f28, что делать и как устранить
Причин возникновения ошибки F28 в газовом котле Vaillant много. Если следовать официальным рекомендациям, то при возникновении такой ошибки рекомендуется вызвать мастера. Но иногда можно попробовать устранить ошибку своими силами. Ошибка появляется в следствии нескольких неудачных попыток запуска горелки.
Причины могут следующие: газ не доходит до газового котла, давление в газовой магистрали ниже допустимого значения, возникли проблемы с питающим напряжением, может потребоваться ремонт газового клапана.
Возникает резонный вопрос, как исправить ситуацию. Первым делом следует нажать на кнопку сброса. В зависимости от моделей она может обозначаться как перечеркнутый символ пламени или присутствовать надпись Reset. Если ошибка возникла из-за сбоя в электрической сети, то сброс параметров восстановит рабочее состояние.
После этого необходимо проверить давление газа в магистрали. Для этого можно воспользоваться кухонной плитой. Необходимо разжечь все имеющиеся конфорки и включить на максимальный режим. Если горят стабильно и с характерным оттенком, то, скорее всего давление газа в норме. Если в газе слишком много воздуха, то горение будет неровным.
Ошибка f75 в котле Вайлант, как устранить
Во всех моделях Вайлант присутствует датчик давления, отвечающий за регистрацию изменений. По норме должно произойти поднятие давления до 50 мбар за 20 секунд. Отсутствие таких показателей расценивается как неправильное функционирование циркулярного насоса. Для предотвращения перегрева оборудования происходит автоматическая блокировка и на экране отображается ошибка F75 в газовом котле Vaillant.
Еще одна причина — присутствие воздуха. Можно попробовать устранить неполадку перезапустив оборудования. Потребуется провести обслуживание, и проконтролировать давление.
Если указанные варианты не принесли должного результата, то придется снять насос и обследовать на присутствие отложений, грязи или износ. При присутствии износа может потребоваться замена насоса.
Ошибка f36, что означает и как ее устранить
Отображение ошибки F36 означает, что присутствуют проблемы в тяге. Причиной может быть как полное отсутствие, так и ее падение. Датчик фиксирует изменения и отправляет команду на остановку оборудования.
Если перезапуск не помог, то потребуется проверить дымоход. Проверьте, не появилось ли обледенение канала, прочистите решетку фильтра, избавьтесь от мусора, если он присутствует. Советуем проверить конструкцию на герметичность. Ненадежные стыки могут стать причиной ухудшения тяги.
Ошибка f29, как ее устранить
Если произошло затухание горелки и после нескольких попыток не получилось разжечь горелку, то на дисплее отобразиться ошибка F29. Необходимо попробовать перезапустить котел. Затем следует проверить поступление в оборудование газа. Если с давлением в норме, то следует проверить заземление.
Также советуем проверить работу отсечного клапана. Он монтируется на внутреннем газопроводе и может блокироваться после сбоя напряжения. Необходимо активировать клапан, и возобновить поступление газа. После проведенных ошибка пропадает.
Ошибка f22
При отображении ошибки F22 можно с уверенностью сказать, что защитная блокировка произошла от нехватки теплоносителя. Среди вариантов можно назвать следующие: неисправность проводки насоса, блокировка непосредственно насоса, недостаточно мощности оборудования или нехватка теплоносителя.
Ошибка f20
Если котел диагностировал F20, то произошло срабатывание предохранительного температурного ограничителя. Было достигнуто максимальное значение, и оборудование включило блокировку.
Другие возможные неисправности и способы их устранения
Случается так, что дисплей котла не работает и не дает возможности фиксировать сбои. Если пользователь уверен, что электропитание в пульт управления котла поступает и он правильно подключен к сети, то наиболее вероятной причиной будет неисправность самой платы.
Обратите внимание! К сожалению, программное обеспечение котла не позволяет фиксировать внутренние сбои в работоспособности платы. И хотя котел функционировать не сможет, нарушения иногда можно обнаружить визуально
Возможные иные коды ошибок:
- F49 – падение шинового напряжения на eBUS из-за короткого замыкания.
- F63 – EEPROM, неисправность электронного блока управления. При возникновении сбоя давлением среды проверяют правильную работу циркуляционного насоса и состояние расширительного бака.
- F64 – не работает электроника из-за короткого замыкания датчика давления на подающем или обратном трубопроводе.
- F65 – перегрев электронных плат. При отказе или плохой работе электронного оборудования тестируют ПО, проверяют состояние контактных групп, рабочие параметры электрической сети, функциональность стабилизатора.
- F67 – нарушение сигнала по контролю пламени горелки. При появлении аварийных сигналов от горелочного устройства или по показателю тяги в топке прежде всего прочищают дымоход и конденсатоотводчик, который может быть забит известковым налетом накипи.

Обратите внимание! Прежде чем звонить в сервисный центр, можно самостоятельно нажать кнопку «Снятие сбоя», на которой установлено изображение «огня с крестом». Если агрегат не заработал, тогда стоит вызвать сертифицированного специалиста, особенно если котел находится на гарантийном обслуживании
Прибывшие специалисты должны будут выполнить диагностику всего котельного оборудования, для чего понадобится разобрать котел. Далее будет проанализировано состояние электродов и электропроводки, питающей электронную плату, проведено тестирование надежности заземляющего контура, выполнена проверка давления газового топлива и работы клапана на газовой линии перед котлом. Если эти узлы не покажут неисправность при тестировании и осмотре, необходимо будет выполнить проверку, ремонт или замену электронной платы блока управления котлом.
Что означают коды f5, 5er, f15, f21, f23, f24, f26, f33, s33, f37, f38, f53, f61, f62, f71, f72, Ser
В ходе эксплуатации настенного двухконтурного газового котла могут возникнуть другие ошибки. Они не так сильно распространены, но знать о них нужно.
F5 – Проблема датчика по безопасному выводу продуктов сгорания. 5er – Напоминание о необходимости провести обслуживание горелки. F15 – Замыкание датчика вывода продуктов сгорания. F21 – При аварийном отключении датчика контроля пламени. F23 – Происходит защитное отключение при возникновении большого перепада температур. F24 – Срабатывает защита при резком нарастании температуры. F26 – Газовая арматура в нерабочем состоянии. F33 – Не происходит замыкания контакта в истечение 30 минут в реле давления. S33 – Произошла блокировка оборудования, и аппарат находится в 20-минутном ожидании. F37 – Проблемы в частоте вращения вентилятора. Ошибка актуальна для котла Вайлант Т4 турбо. F38 – Поломка вентилятора и требуется замена. F53 – При возникновении ошибок регулировки сгорания. F61 – При ошибках в управлении газовой арматуры. F62 – При возникновении задержек выключения газовой арматуры. F71 – Сбой датчика температуры в подающей линии. F72 – Сбой датчика температуры подающей или обратной линии. Ser – То же самое, что и 5er.
Не стоит забывать, что котлы Вайлант чувствительны к перепадам электрической сети. Возникает вопрос, что делать и какие действия предпринять. Стабилизаторы напряжения могут решить проблему только частично.

Кроме стабилизации напряжения в устройстве присутствует аккумулятор, который позволит функционировать котлу в случае отключения электричества.
В каждом городе существует несколько специализированных организаций, которые занимаются обслуживанием отопительного оборудования. При обращении в компанию постарайтесь узнать аттестованы ли они на обслуживание газовых котлов Vaillant, и только после утвердительного ответа можно вести разговор и договариваться о вызове мастера. В этом случае можно быть уверенным, что у организации найдутся запчасти для газовых котлов Вайлант.
Ремонт различных моделей
Согласно указаниям производителя, нельзя чинить газовый котел Vaillant TurboTEC Pro 28 кВт таким образом, чтобы происходили изменения в самом котле, на магистралях, подающих воду или газ, в электросети или в дымоходах. Затягивать и ослаблять резьбу всех соединений можно исключительно гаечными ключами открытого типа. Нельзя для этой цели применять трубные клещи, удлинители и тому подобное оборудование.
Проверка давления производится следующим образом:
- снимается оболочка;
- вперед откидывается распределяющая коробка;
- перекрывается газовый кран;
- ослабляется винт in;
- подсоединяется манометр;
- открывается запирающий газовый кран;
- прибор запускают на полную нагрузку;
- измеряется давление при подключении.
Если устранить возникшую неполадку своими силами не получается, стоит выполнить следующие действия:
- котел требуется остановить;
- снять манометр;
- проконтролировать герметичность закрепления винта;
- откинуть распределяющую коробку;
- вернуть на место обшивку;
- дождаться представителей газовой службы.


Как одноконтурные, так и двухконтурные котлы, потребляющие очень много газа и дающие крайне жаркий дымовой поток, чинить не требуется. Необходимо очищать и отмывать верхний теплообменник. При малом гидравлическом сопротивлении фирма советует поджимать подающий кран. В случае полного отсутствия искры не стоит тратить время на очистку газового клапана. Проблема с вероятностью почти 100% связана с системной электронной платой. Если котел AtmoTEC Plus меняет резко давление, когда меняется температура, требуется накачивать расширяющий бачок.

Это интересно: Как спрятать газовую колонку на кухне: требования безопасности + подборка лучших идей по маскировке
Что вызывает аварийную остановку
Дымоход
Засорение канала, блокировка – с этим часто связана ошибка f36 котла Вайлант. Лед на внутренних стенках и оголовке, слой пыли, мусор, паутина на решетке фильтра – тяга снижается, отопительный агрегат блокируется по сигналу аварии.
Неграмотный проект, нарушения правил монтажа. Производитель дает исчерпывающие рекомендации по обустройству дымохода для котла Вайлант: сечение трубы, длина трассы и вертикального участка, возвышение над кровлей, уклон и ряд иных. Несоответствие одного из параметров негативно отражается на тяге, инициирует блокировку работы агрегата с ошибкой f36. В процессе эксплуатации просчеты проявляются при смене направления ветра, сильных порывах (опрокидывание тяги – котел «задувает»), осадках (жидкость переливается из системы водостока в трубу дымохода).
В канале не установлен конденсатосборник или неправильно выбрано место для накопителя.
Вытяжка рассчитывается исходя из характеристик отопительного агрегата, мощности. Собственники, подключающие с целью экономии Вайлант к дымоходу, ранее смонтированному для другого котла, часто сталкиваются с ошибкой f36. О возможных неполадках предупреждает и производитель – только воздухопровод/газоотвод торговой марки Vaillant (инструкция, раздел 5.5).
Подача дутьевого воздуха к котлу vaillant через наружную стену
Нарушение герметичности. Ненадежные стыки колен, подсос воздуха ухудшают тягу.
Повреждение (отсутствие) термоизоляции. Падение температуры снижает скорость протока летучих продуктов горения по каналу – причина ошибки f36. Убирается утеплением дымохода.
Советы
В интернете много рекомендаций по решению проблемы с кодом 36 котла Вайлант. Одни полезные, а некоторые попросту вредные. Кое-кто из «знатоков» подсказывает, как убрать ошибку f36: заменить термодатчик с пределом срабатывания t = 65 С аналогичным прибором, рассчитанным на 95 (значения температуры указывается на корпусе). Непрофессиональное вмешательство в конструкцию котла Вайлант запрещено! Речь идет об отведении из помещения угарного газа. К чему приводит его накопление в комнате из-за задержки срабатывания термостата, объяснять не нужно.
Снижение тяги атмосферного котла вызывается работающим поблизости от него вытяжным устройством. Технические средства этой категории использовать рядом с агрегатами серии Atmo запрещается.
Нарушение рекомендаций по монтажу агрегата
В инструкции изложены требования к помещению и креплению Вайлант. Непрофессиональная установка котла вызывает ошибку f36.
Причины
Несоответствие габаритов комнаты мощности Vaillant.
Повышенная температура в помещении.
Недостаточная естественная вентиляция. Убедиться несложно распахиванием оконных, дверных створок. Дополнительный приток воздуха уберет ошибку f36.
Неправильный выбор места. Малый интервал между котлом Вайлант и поверхностями (стенами, полом, потолком), бытовыми приборами, выделяющими тепловую энергию (газовая плита) приводит к перегреву конструктивных элементов. Минимальные расстояния указаны в руководстве. Если не выдержаны, создаются условия для срабатывания термодатчика, высвечивается ошибка f36.
Загрязнение теплообменника
Слой пыли на корпусе прибора, в межреберном пространстве препятствует поступлению воздуха в котел Вайлант из комнаты. Падает тяга, аварийная остановка с ошибкой f36. Убирается чисткой камеры сгорания и поверхности теплообменника.
Снижение скорости циркуляции
Проблема с датчиком
О неисправности прибора (AtmoGuard) информируют другие ошибки, но «поведение» электроники непредсказуемо: всякое бывает. Код 36 вызывается поломкой или неверным срабатыванием датчика тяги. В котлах Вайлант система контроля дымохода устроена «хитро». Отличие от отопительных установок других производителей в том, что за отводом летучих продуктов горения следят 2 сенсора. Их выверенное расположение в канале гарантирует быструю реакцию на малейшее изменение потока.
Датчик тяги котла Vaillant
Одна часть датчика (сенсор) контролирует отходящие в дымоход газы, другая (внешняя) – проникновение их в комнату. Если такое наблюдается, электроника через две минуты отключает подачу «голубого топлива» к горелке. Спустя 15–20 мин (когда сенсор остынет) котел Вайлант автоматически вступает в работу. Блокировка отопительного агрегата с выдачей ошибки f36 происходит при условии, что такая ситуация повторяется еще 2 раза.
В инструкции нет рекомендации по «глубокому» тестированию датчика. Описана лишь методика проверки на срабатывание: перекрыть дымоход, пустить котел Вайлант. Далее наблюдать за действиями электроники: аварийное отключение (2 мин), повторный розжиг (15–20).
Возможные неисправности, которые случаются не так часто
Если необходимый код ошибки отсутствует в данном списке, это значит, что с ней справится только мастер.
- F0, F Поломка случилась в датчике NTC, контролирующего температуру, на подающей линии (F0) или на обратной (F1). Необходимо проверить не только датчик, но и его кабель;
- F2, F3, F Произошел сбой в работе датчика NTC. Возможно, плохо вставлен штекер или же сломался сам датчик или кабель;

Как выглядит датчик NTC
- F5, F6 (Вайлант Atmo). Проблема с работой датчика, обеспечивающего безопасный вывод продуктов сгорания. Нужно проверить, правильно ли он подключен, либо сбой произошел из-за сломанного кабеля или самого датчика;
- F10, F Произошло короткое замыкание в датчике температуры в подающей линии (F10) или в обратной (F11). Проверить все, описанное выше;
- F13, F Температура в агрегате перевалила свыше 130 градусов, и произошло короткое замыкание в датчике горячего старта. Проверить все, описанное выше;
- F15, F16 (Вайлант Atmo). Произошло короткое замыкание в датчике, отвечающего за вывод продуктов сгорания. Проверить все, описанное выше;
- F Произошел перегрев котла;
- F Не хватает воды в устройстве, при этом температура между подающей и обратной линиями сильно отличается. Стоит проверить подключение датчиков на обеих линиях, работоспособность насоса и кабеля или платы;
- F Проблема похожа на предыдущую – недостаточно теплоносителя. Проверить всё то же, что и в п.8;
- F Аппарат аварийно отключился из-за чересчур высокой температуры отработанных газов. Необходимо проверить датчик NTC, кабели и штекеры;
- F Котел сообщает о наличии пламени, хотя вентиль закрыт. Причина может быть в неполадках с датчиком пламени или с магнитными клапанами;
- F32 (конденсационные котлы). Неисправности с частотой вращения вентилятора. Скорей всего, проблема в нем самом, но также нужно проверить плату, кабель и датчик;
- F33 (Vaillant turboTEC). Реле давления не замыкает контакт спустя полчаса после запроса на подачу тепла;

Газовый Котел Vaillant turboTEC
- F Понизилось напряжение на шине eBus. Возможно, в ней случилось короткое замыкание либо она сильно перегружена;
- F К клапанам не посылается управляющий сигнал. Нужно проверить клапаны, кабель и плату;
- F Сбой в задержке отключения вентиля. Проверить, не пропускает ли он газ и не засорились ли форсунки;
- F Перегрелся блок электроники. Причина либо извне, либо в неисправности блока;
- F Низкое давление воды. Либо проблема в самом датчике, либо в нем короткое замыкание;
- F Высокое давление воды. Причина изложена выше.
Практические рекомендации
• Котел Vaillant следует включать в сеть не напрямую, а через ИБП. Блок – это комплексное устройство, состоящее из группы аккумуляторов, схем их заряда и стабилизации напряжения. Даже при отключении ЛЭП, поломке резервного электрогенератора отопительная установка продолжит функционировать несколько часов (зависит от общей емкости АКБ).
• «Слабое звено» датчиков давления любого импортного котла, и Vaillant не исключение – чувствительный элемент (мембрана). Зарубежные разработчики ориентируются на своего покупателя, не учитывая нашу специфику. Это касается качества воды, заполняющей отопительный контур. Со временем при повышенной жесткости теплоносителя РТИ становится «дубовой» и теряет чувствительность к изменению напора циркулирующей жидкости. По факту датчик (реле протока) исправен, но ошибка котла F75 периодически появляется. Причина – мембрана не реагирует на незначительное изменение давления.
Целесообразно заказать и установить в котел Vaillant немецкий датчик новой модификации (артикул 0020023721). Цена достаточно высокая (в пределах 11500 рублей), зато гарантия на него 5 лет, а проблема с появлением ошибки F75 из-за «капризов» реле протока будет решена навсегда. Оно сделано так, что замусоривание исключено: особый материал мембраны, полимерное заполнение пустот в корпусе датчика.
Как запустить самодиагностику
Система самодиагностики представляет собой комплекс датчиков, состоящий из элементов NTC (терморезисторы) или из программных продуктов.
Все они работают в непрерывном режиме, отслеживая состояние подключенных элементов с момента включения котла.
Поэтому система самодиагностики не нуждается в запуске — она всегда включена и функционирует в постоянном режиме, контролируя режим работы узлов и деталей, немедленно сигнализируя о возникновении неполадок.
В случае возникновения нештатной ситуации, на дисплее появится специальный код, обозначающий проблемный элемент конструкции. От пользователя требуется только соответствующая реакция на появление ошибки.
.
Советы специалистов
Есть несколько советов специалистов, которые стоит принять во внимание. В частности, ряд советов касается профилактики и начальному использованию котла
Рекомендации:
- модель должна соответствовать запросам отопительной системы;
- подключение должно производиться строго по инструкции;
- любые небольшие отклонения от рабочего цикла должны сразу проверяться;
- перед первым рабочим запуском должна проводиться диагностика;
- установкой оборудования занимаются профессионалы, в противоположном случае могут возникнуть неполадки еще во время первых рабочих циклов.
У большинства пользователей при эксплуатации возникают вопросы, на которые могут ответить только специалисты. Также на каждый вопрос есть ответ, который позволяет решить проблему. Советы:
- При отсутствии реакции на включение воды и наборе звуков, которые исходят из самого оборудования, стоит проверить линию подачи газа, а также газовый счетчик.
- При прыжках давления, которые происходят из-за расширительного бака, его можно просто накачать.
- При неправильной работе датчика давления выскакивает ошибка F75. Для устранения можно просто прижать кран подачи.
- При переменном отключении оборудования и подачи то горячей, то холодной воды стоит настроить минимальный размер давления.
- При задержках в переключении котла с одного режима на другой и звуках, которые похожи на бульканье, требуется выкачать лишний воздух.
- Кроме воды, можно применять только теплоноситель, специально подобранный под котел. Других жидкостей быть не должно.
- При полной остановке оборудования и затухания панели требуется проверить предохранители.
- При мигании значка с пламенем и отсутствии включения требуется прочистить фильтры и проверить датчики.
- Если имеется хороший напор холодной воды, но горячая идет плохо, то потребуется проверить и сменить теплообменник.
Стоит учесть еще один нюанс. По заводским настройкам устанавливается максимальное значение (не всегда, но часто). При наличии меньшей площади стоит уменьшить мощность. Эта процедура должна быть проведена после подключения при первой диагностике.
На дисплее могут высвечиваться разные коды ошибок, но, при этом, проблема бывает комплексной. Высвечивается та ошибка, которая мешает перейти оборудованию в рабочий режим.
После выявления недостатков требуется их устранение. Дальше проводится полный осмотр оборудования и настройка. После этого запускается диагностика, которая должна проверить все режимы и возможности котла.
Только после всех указанных процедур можно запускать оборудование в работу
Также важно после ремонта или устранения неполадок произвести чистку, которая необходима
Есть важный нюанс. При нерегулярном обслуживании котла могут возникнуть проблемы с фильтрами, а также дымоходом. Именно поэтому процедура обслуживания подразумевает под собой не только смену деталей, но и полное приведение техники в порядок.
Чаще всего все проблемы при работе отображаются на дисплее. По этим указателям и требуется ориентироваться в первую очередь.

Диагностика
Появилась ошибка F28 на котле «Вайлант», что делать? В первую очередь, при возникновении подобных неисправностей не стоит сразу же начинать паниковать. Далеко не все знают, что абсолютно каждый котел от немецкой компании оснащен своей собственной системой диагностики, которая входит в состав электронного блока.
Все необходимые данные о работе системы можно получить также на жидкокристаллическом дисплее агрегата.
Также можно произвести и самостоятельные диагностические мероприятия. Сначала необходимо оценить, насколько прибор работоспособен. Для этого в первую очередь проверяются отводящие и подводящие соединения. Необходимо удостовериться, что отводы угарного газа, ГВС и конденсата полностью герметичны
Также нужно обратить внимание, чтобы в камере понижения давления отсутствовали серьезные загрязнения
На следующем этапе осуществляется проверка всей электрической проводки. Для этого нужно удостовериться, что разъемы и штекеры плотно «сидят» и не болтаются. В отводе конденсата и сифоне могут скопиться солевые или известняковые отложения, что также может повлиять на работоспособность агрегата. В случае появления таких загрязнений необходимо обязательно от них избавиться.

Иногда газовая горелка агрегата забивается нагаром. В этом случае ее необходимо очистить, а также обработать внутренние стенки всех рабочих камер и дымоход.
Диагностика и сбои котлов
Надо отметить, что оборудование Vaillant является одним из самых безопасных среди всех остальных. Количество настроек, параметров, проверок здесь существенно больше, чем в котлах других брендов. Котлы с дисплеями могут отображать коды состояния, диагностики (два уровня), сбоев и программы наладки. Обычному пользователю будут интересны только коды неполадок, потому все остальное в основном предназначено для сервисных специалистов.
Так же автоматика вайлант хранит историю всех ошибок, это делает очень удобной диагностику и поиск неисправности котла. В любой момент можно просмотреть 10 последних ошибок, которые были на котле (для выведения списка используется кнопка “info” и “-”).
Далее рассмотрим самые распространенные ошибки котлов Vaillant и рекомендации по их устранению.
Почему падает давление
Падение давления в котле имеет единственную причину — утечка теплоносителя. Если после нескольких попыток поднять напор с помощью питающего вентиля никаких положительных результатов не появляется, следует искать протечку в самом котле или в отопительном контуре.
Сложность может возникнуть, если котел конденсационный и подключен к системе теплого пола.
Поиск протечек в подобных условиях крайне затруднен. Может оказаться, что неисправность скрыта в клапане сброса, подключенном к системе канализации.
Оптимальный способ поиска причин — последовательное исключение возможных причин протечек, чтобы в конечном счете осталась одна, правильная.
ОБРАТИТЕ ВНИМАНИЕ!
Определенную информацию можно получить, если попробовать определить интенсивность протечки и проанализировать пропускную возможность задействованных элементов котла.

Популярные неисправности газовых котлов Vaillant
В процессе эксплуатации оборудования постоянно возникают ситуации, когда тот или иной узел оказывается под увеличенной нагрузкой и может выйти из строя.
Ситуации могут возникнуть самые разные, но большинство из них могут быть систематизированы и классифицированы как наиболее типичные. Производитель заботится о надежности работы своих агрегатов.
Конструкция каждой установки содержит набор специальных датчиков, которые мониторят состояние определенных деталей и оповещают пользователя при появлении сбоев режима или отказов того или иного элемента. Эти датчики составляют систему самодиагностики, которая подает сигналы на электронную плату управления.
Наличие такой системы значительно облегчает процесс локализации возникшей неисправности, позволяет обнаружить ее на ранней стадии. Код ошибки имеет приоритет перед другими системными сообщениями и выводится на дисплей в любой ситуации.
Это облегчает ремонт и обеспечивает сохранность дорогостоящей техники.

Котел «Вайлант»: ошибка F28
Если говорить о данном коде, то он может свидетельствовать сразу о нескольких неисправностях. Например, причиной такому явлению может стать поломка редуктора, который отвечает за давление газа. Также из строя мог выйти счетчик.
В некоторых ситуациях ошибку F28 газовый котел «Вайлант» выдает, когда происходит перенасыщение газа воздухом. Также необходимо обязательно следить за давлением. Для того чтобы изменить эти значения, необходимо самостоятельно проверить настройки.
Некоторые пользователи случайно закрывают газовый кран, из-за чего также может возникнуть ошибка. Кроме этого, нередко происходит разрыв кабеля. Из строя может выйти и газовый магнит. Дополнительно нужно проверить трансформатор розжига и удостовериться, что внутри системы отсутствует нагар.
Реже всего данная ошибка возникает при поломках в плате управления. Поэтому независимо от того, выдает ошибку F28 котел «Вайлант» на 24 КВт или другая модель, рекомендуется произвести проверку некоторых узлов и удостовериться, что агрегат эксплуатируется в правильном режиме.




































