Меры безопасности при работе с меркаптанами
Предназначенные для предотвращения возникновения чрезвычайных ситуаций одоранты сами являются взрывоопасными и горючими веществами 2 класса опасности.
При обращении с ними требуется соблюдать такие меры безопасности:
- Все манипуляции с растворами и оборудованием в герметичной прорезиненной одежде и противогазе.
- Двукратная обработка грунта нейтрализующими растворами при попадании на него меркаптанов.
- Наличие эффективной приточно-вытяжной вентиляции в помещениях где хранятся или используются одоранты.
- Ограничение допуска в помещение, где хранятся реагенты посторонних лиц. Надежные запоры, замки, охрана и пропускной режим.
- Перевозка жидкости специальным транспортом, оборудованным предупреждающими знаками.
- Наличие на газораспределительной станции датчиков определения утечки газа и одорантов, а также эффективных средств пожаротушения.
Если жидкость пролилась на пол, ее следует незамедлительно зафиксировать песком, а затем переложить его в резиновые мешки для последующей утилизации.
Получение
Оксид азота(II) — единственный из оксидов азота, который можно получить непосредственно из свободных элементов соединением азота с кислородом при высоких температурах (1200—1300 °C) или в электрическом разряде. В природе он образуется в атмосфере при грозовых разрядах (тепловой эффект реакции −180,9 кДж):
- N2+O2→2NO{\displaystyle {\mathsf {N_{2}+O_{2}\rightarrow 2NO}}}
и тотчас же реагирует с кислородом:
- 2NO+O2→2NO2.{\displaystyle {\mathsf {2NO+O_{2}\rightarrow 2NO_{2}.}}}
При понижении температуры оксид азота(II) разлагается на азот и кислород, но если температура падает резко, то не успевший разложиться оксид существует достаточно долго: при низкой температуре скорость распада невелика. Такое резкое охлаждение называется «закалкой» и используется при одном из способов получения азотной кислоты.
В лаборатории его обычно получают взаимодействием 30%-ной HNO3 с некоторыми металлами, например, с медью:
- 3Cu+8HNO3→3Cu(NO3)2+2NO+4H2O.{\displaystyle {\mathsf {3Cu+8HNO_{3}\rightarrow 3Cu(NO_{3})_{2}+2NO+4H_{2}O.}}}
Более чистый, не загрязнённый примесями NO можно получить по реакциям:
- FeCl2+NaNO2+2HCl→FeCl3+NaCl+NO+H2O,{\displaystyle {\mathsf {FeCl_{2}+NaNO_{2}+2HCl\rightarrow FeCl_{3}+NaCl+NO+H_{2}O,}}}
- 2HNO2+2HI→2NO+I2+2H2O.{\displaystyle {\mathsf {2HNO_{2}+2HI\rightarrow 2NO+I_{2}+2H_{2}O.}}}
Промышленный способ основан на окислении аммиака при высокой температуре и давлении при участии Pt, Cr2O3 (как катализаторов):
- 4NH3+5O2→4NO+6H2O.{\displaystyle {\mathsf {4NH_{3}+5O_{2}\rightarrow 4NO+6H_{2}O.}}}
Получение NO является одной из стадий получения азотной кислоты.
1.2 Требования безопасности при перевозке одоранта СПМ
Максимальная плотность одоранта32 Способы одоризации газа
- Необходимый уровень точности;
- Достаточная производительность;
- Материальные возможности.
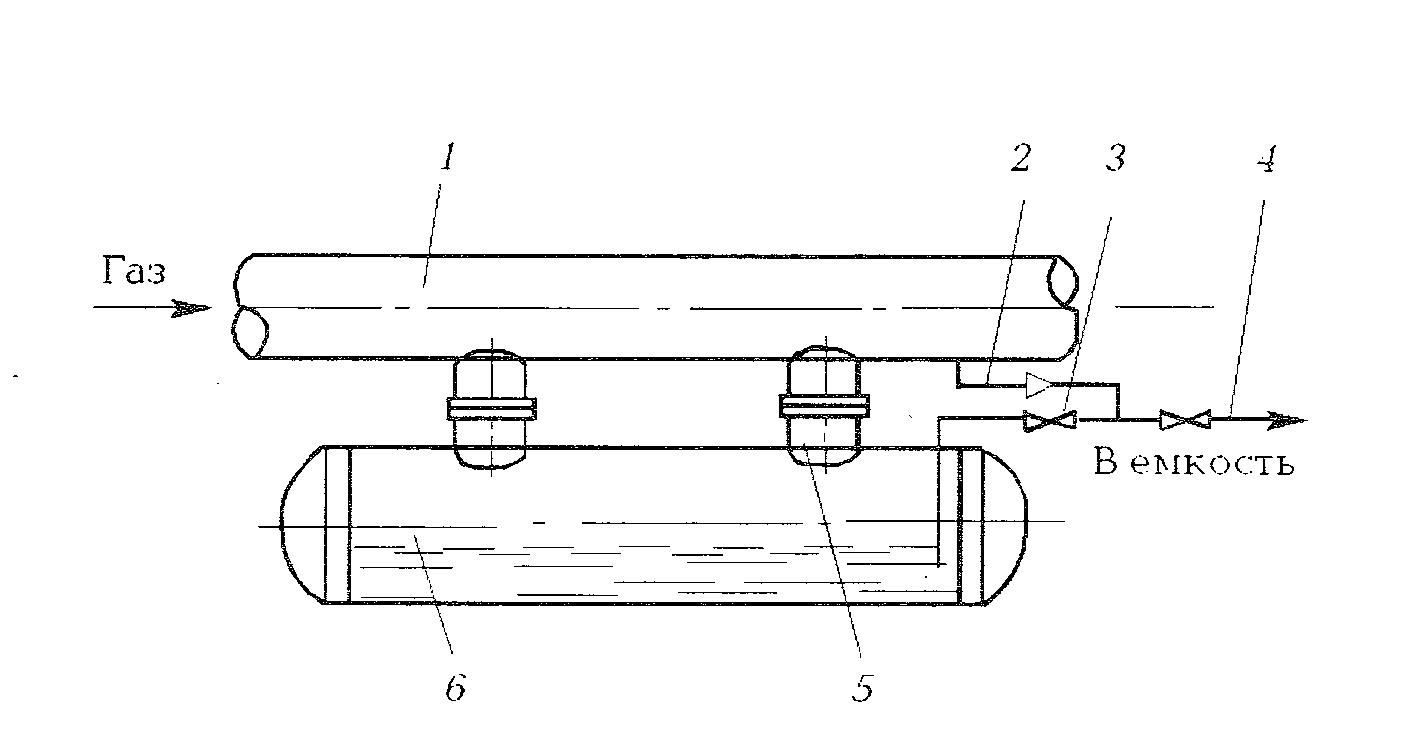
2.1 Капельный способ
которой создается перепад давления22.2 Фитильный способ
2.3 Барботажный способодоранта газ проходит через смотровое окно
11org23и
- при изменениях газопотребления в процессе эксплуатации одоризатора более чем на 30%, процесс одоризации выходит из режима и требует ручной настройки на новый режим;
- точность одорирования невысока (в зависимости от условий эксплуатации может меняться от 5 до 20 %), причем, определяется она только качеством изготовления дозатора и стабильностью расхода газа в трубопроводе; температурные колебания окружающего воздуха, а также резкие изменения газопотребления в виде отключений или подключений сравнительно крупных потребителей газа, существенно ухудшают качество одорирования, но не могут быть в данных устройствах автоматически учтены и скомпенсированы;
- необходимость использования сужающего устройства создает дополнительные неудобства обслуживающему персоналу, а зачастую требует еще и сезонной замены шайбы;
- в систему управления ГРС или в системы верхнего уровня передается только предупредительная информация о минимальном уровне одоранта в расходной емкости; других датчиков для оценки состояния оборудования одоризатора и качества его работы, нет.
3 Дозированная подача одоранта в поток газауправляемого от электронного блока
- в случае протечек через клапан, процесс одоризации газа становится неуправляемым, так как подача одоранта в трубопровод осуществляется самотеком;
- величина единичной дозы в значительной мере зависит от температуры окружающего воздуха (из-за температурных изменений объема меняется плотность вещества и, как следствие, масса дозы) и от степени заполнения расходной емкости (с изменением гидростатического давления, меняется скорость подачи одоранта и, соответственно, его количество, протекающее через открытый электромагнитный клапан за одно и то же время);
- отсутствует информация о фактическом прохождении одоранта через одоризатор (имеется только визуальный контроль).
4 Поиск утечек газаогромное хозяйство требует регулярного обслуживания
5 Конденсатосборники
kдиаметр расширительной камерыжГ
ЗаключениеСписок литературы
- Стаскевич Н.Л. Справочник по газоснабжению и использованию газа. Л., «Недра», 1990.
- Скафтымов Н.А. Основы газоснабжения. Л., «Недра», 1975.
- Кряжев Б. Г., Маевский М. А. Техника безопасности при использовании сжиженных газов. М., Недра, 1976.
- Рачевский Б. С, Раневский С. М., Радчик И. И, Транспорт и хранение сжиженных газов. М., Недра, 1974.
- Правила эксплуатации кустовых баз и газонаполнительных станций углеводородных газов. М., Недра, 1975.
Одоризация газа. Изм. Лист № докум. Подпись Дата Лист Лит. Листов 2 30 ТИУ, ВИШГр. СОТб-18-1
Варианты исполнения
БАОГ устанавливаются на раме и закрываются шкафом. Он может быть съемным, металлическим, утепленным, обогреваемым. По необходимости устройство может укомплектовать по заказу светильниками в защищенном от взрыва исполнении. Можем предложить датчики загазованности, охранную и пожарную сигнализацию.
Второй способ размещения оборудования – отсек блок-бокса. Мы можем оснастить блок любыми дополнительными приспособлениями. Так в комплектацию входят: системы принудительной вентиляции, автоматические датчики контроля газа, заземления, современные аварийные и пожарные оповещения. По желанию заказчика возможно отопление блока электрическое, защищенное от взрыва или водяное, привязанное к внешнему источнику.
Предлагаемое оборудование производится с учетом всех требований в газовой отрасли, имеет сертификаты.
Требования безопасности при перевозке одоранта СПМ
В инструкции по требованиям безопасности при перевозке указано, как правильно сливать и заливать вещество, как осуществлять автомобильную перевозку, пользуясь дорогами общего пользования, как организовывать и технически обеспечивать данное мероприятие.
Первым пунктом необходимо уточнить, что одорант СПМ имеет 3 класс опасности. Данное вещество имеет прозрачный цвет и специфический запах, который чувствуется даже при минимальных количествах. Максимальная плотность одоранта, которая допускается при ее смешивании, составляет 1 мг/м3. Если он контактирует с водой или кислородом, то воспламенение не происходит. Токсичные вещества не образуются. При контакте с открытым огнем, происходит быстрое воспламенение. В условиях закрытого тигля, он загорается при 30 градусах.
Одорант не вызывает отравления, но даже небольшая его концентрация может вызвать тошноту, рвоту боли в голове. Более высокая концентрация влияет на расстройство нервной системы, а так же приводит к наркотическому воздействию, которое, как правило, приводит к мышечной скованности. Попадание небольшого количества одоранта на кожу приводит к раздражению. Большее количество может проникнуть в организм и проникнуть во внутренние органы, затем окислиться до сульфата.
Необходимо помнить, что купить возле одорантов, во время перевозки, строго запрещено. Это может принести непоправимый вред здоровью.
Источник
Оригинальное решение
В качестве газоанализатора стали использовать наши носы. В газовое топливо добавляют одоранты, особые примеси, которые придают запах газу. Если дезодоранты используют для устранения различных запахов, то одоранты, наоборот, служат для создания таковых. Причём стараются делать их как можно более противнее и неприятнее.
Магистральный газ в домах уже не один десяток лет обычное явление не только в городах, но и во многих деревнях нашей страны. Там, где его по трубам провести невозможно либо нецелесообразно с экономической точки зрения, пользуются сжиженным природным газом. Для этого устанавливают газгольдеры.
Рис.2

Одоризация газов
Пары природных и сжиженных углеводородных газов бесцветны и не имеют запаха. Это затрудняет обнаружение газа в помещениях при утечке. Согласно требованиям государственного стандарта запах газа должен ощущаться при объемной доле его в воздухе, равной 0,5%. Для придания газам специфического запаха в них добавляют сильно пахнущие вещества — одоранты, например технический этил- или метилмер-каптан. Среднегодовая норма расхода меркаптанов для одоризации природного газа составляет 16 г (19,1 см3) на 1000 м3 газа (при температуре 0 °С и давлении 760 Па).
Меркаптаны — летучие бесцветные жидкости, обладающие ярко выраженным специфическим запахом. Они могут быть обнаружены при содержании в воздухе, равном 2 • 10 9 мг/л. В ничтожных концентрациях пары меркаптана вызывают тошноту и головную боль, при более высоких концентрациях — оказывают влияние на нервную систему. При легких отравлениях меркаптанами рекомендуются свежий воздух, покой, крепкий чай или кофе, при сильной тошноте требуется врачебная помощь, при остановке дыхания — искусственное дыхание.
В качестве средств индивидуальной защиты от меркаптанов используют фильтрующий промышленный противогаз марки А, а при работе в помещении с высокой концентрацией их — изолирующие шланговые противогазы с принудительной подачей воздуха, защитные герметичные очки и др.
Все оборудование при работе с одорантами должно быть тщательно герметизировано. Помещения, в которых хранят или применяют одоранты, необходимо оборудовать вентиляцией.
Одоризацию природного газа производят на ГРС, сжиженных углеводородных газов бытового и коммунально-бытового назначения — на газоперерабатывающих, нефтеперерабатывающих и нефтехимических заводах. При массовой доле пропана в сжиженном газе до 60 % (включительно), бутана и других газов более 40 % норма одоризации составляет 60 г этилмер-каптана на 1 т сжиженного газа; пропана свыше 60%, бутана и других газов до 40 % — 90 г на 1 т сжиженного газа.
Заводы-изготовители производят одоризацию в потоке газа путем введения одоранта в трубопроводы, по которым газ перекачивается из резервуаров на наливные железнодорожные эстакады Периодически, а также при поступлении рекламаций проводится проверка интенсивности запаха одоризованных газов органолептическим и физико-техническим методами. На предприятиях, потребляющих природные и сжиженные углеводородные газы для бытовых целей, проверку интенсивности запаха одоранта в газе проводят не реже 1 раза в квартал.
Органолептическая проверка интенсивности запаха одорированных газов проводится пятью испытателями с оценкой по пятибалльной шкале: 0 — отсутствие запаха; 1—запах очень слабый, неопределенный; 2 — запах слабый, но определенный; 3 — запах умеренный; 4 — запах сильный; 5 — запах очень сильный, нетерпимый. Органолептическая проверка интенсивности запаха одорированных газов проводится в специально оборудованной комнате-камере при температуре (20±4) °С, в которой объемная доля газов в воздухе должна составлять 0,4 %, что соответствует /б нижнего предела взрываемости. Г аз впускается в камеру и перемешивается с воздухом с помощью вентиляторов. Запах считается достаточным, если не менее трех испытателей дадут оценку интенсивности не ниже 3 баллов. Если запах недостаточный, проводят оценку другой пробы газа пятью незаинтересованными испытателями.
Одновременно выполняют физико-химический анализ на содержание этилмеркаптана в углеводородной газовой смеси одним из следующих методов: хромотографическим, нефеломет-рическим, кондуктометрическим, методом бромных индексов, иодометрическим.
При наличии у газов бытового назначения собственного специфического запаха норма одоризации может быть уменьшена.
Одоризационные установки относят к категории взрывоопасных, а помещения для хранения одоранта — пожароопасных. При эксплуатации и ремонтах одоризационных установок запрещается проводить работы, которые могут вызвать искро-образование. Категорически запрещается курить в помещении, где находится одоризационная установка.
Свойства и состав одорирующих веществ
Этилмаркаптан начали применять еще во времена Советского Союза и изготавливался он в Дзержинске. Выявлено, что он имеет невысокую химическую стабильность, которая выражается в его быстром окислении. Последнее вещество всегда присутствует в газопроводе. Они образовывают другой химический элемент, который называется диэтилдисульфидом. Этот элемент, по сравнению с этилмаркаптаном, обладает слабой интенсивностью запаха, поэтому приходится увеличивать его концентрацию, соответственно и затраты. Говоря об этом веществе, необходимо ответить, что оно достаточно токсично.
Еще один достаточно распространенный СПМ. Основным его производителем является завод по газопереработке, который находится в Оренбурге. В его состав входит много отдельных компонентов, таких как этилмеркаптан, изо-попилмеркаптан и бутилмеркаптан. Всего их 7 и все они имеют различную массовую долю в веществе. На 1000м3 вводится 16 г СПМ. В качестве одоранта зарубежном используют меркаптан, который создается при химическом синтезе серы, сульфида и других веществ, но уже с меньшей молекулярной долей.
Международный стандарт, которого придерживалось большинство производителей и потребителей, совсем недавно был изменен. Если раньше в качестве одорантов применялись соединения сери, которые имеют температуру кипения в 130 градусов, то сейчас широко начали применять бессернистые соединения. Им присущи следующие свойства:
- экологическая чистота продукта. В атмосферу не выбрасываются соединения, которые имеют серу;
- более резкий и стойкий запах;
- соответствие эпидемиологическим нормам;
- высокая интенсивность;
- низкая концентрация;
- вещество стабильно даже при длительной транспортировке или хранении;
- не изменяющиеся свойства, даже во время больших колебании температуры;
- не растворяется в воде.
Одним из примеров таких одорантов выступает Gasador. Его признали пригодным в нашей стране, после того, как были пройдены все испытания. Они проводились на предприятии ООО «Севергазпром».
Требования к пахнущим добавкам для газа
Две самые неприятные для потребителей характеристики природного газа – отсутствие цвета и запаха. Причина в том, что его утечка — это прямой путь к взрыву или пожару. Выявить же утечку бесцветного вещества, не обладающего запахом практически невозможно.
Поэтому единственным выходом из положения является использование одорантов. О том, что представляют собой указанные вещества, сказано в ТУ 51-31323949-94-2002, разработанных ООО ВНИИГАЗ, которое является подразделением Газпрома. На основании положений этих условий происходит изготовление одорантов.

Парадокс ситуации с веществами, которые должны придавать газу запах и спасать жизни людям, в том, что для этой цели используют органические, но ядовитые соединения
И в указанном техническом условии сказано, что одоранты — это интенсивно пахнущие вещества или их комбинации, которые добавляются к природному газу. Причем, исключительно в малых концентрациях с целью придать специфический (неприятный) предупреждающий запах.
Это делается, чтобы облегчить выявление утечки газа, когда уровень его концентрации не достигнет нижнего предела взрываемости. Что дает возможность любому человеку выявить утечку топлива при его концентрации около 1% от всего объема помещения. Это обеспечивает запас времени для того, чтобы предотвратить негативные последствия. Так как взрыв может произойти, когда концентрация газа достигнет 5% от общего объема помещения.
Рекомендуем ознакомиться с лучшими способами проверки утечки газа в домашних условиях.

Использование одорантов повышает стоимость газа. Поэтому процедура смешивания производится в распределительных сетях перед самой подачей энергоносителя потребителям
ГОСТ 5542-2014 регламентирует, каким должен быть бытовой газ, который поставляется потребителям. Собственно, его можно считать основным профильным документом. Так как в РФ полностью не регламентирован вопрос о том, что нужно добавлять в природный газ для придания ему специфического неприятного запаха.
Исключением можно считать только документ ВРД 39-1.10-069-2002. Это внутренний документ Газпрома. В нем наиболее подробно описана процедура одоризации, какие для этого используются вещества, а также требования безопасности при работе с одорантами.

Поскольку одорант имеет резкий запах и к тому же ядовит (в концентрированном состоянии) то его хранение и транспортировка осуществляется в специальных цистернах, бочках
Кроме специфического запаха одоранты должны обладать еще рядом характеристик:
- проявлять химическую и физическую стабильность в парообразном состоянии при смешивании с газом и при транспортировке по трубопроводу;
- не оказывать негативного воздействия на материалы, из которых изготовлены трубы и любые другие элементы конструкции газопроводов – это необходимо, чтобы исключить снижение эксплуатационных характеристик и срока службы трубопроводов в целом и отдельных его элементов конструкции;
- быть концентрированными – это даст возможность уменьшить количество используемого вещества;
- обладать незначительной токсичностью – такое требование относится исключительно к рабочим концентрациям одорантов.
Следует отметить, что в полной мере всем перечисленным требованиям сегодня не отвечает ни одно массово используемое химическое вещество.
Но наиболее подходящими являются, так называемые, природные меркаптаны, а, если быть точным, то их смеси. Запах которых потребители ощущают при каждом включении газового оборудования.
Как поменять термопару?
Проводить замену устройства должен лишь специалист, так как это очень опасно. Если крепление негерметично, то любая поломка прибора даст искру, из-за чего произойдет взрыв газовой плиты. Чтобы избежать пожара в своем доме, не проводите самостоятельно замену термопары, а попросите специалиста сделать это.
Для замены устройства вам необходимо будет купить новую термопару в специализированном магазине. При выборе этого устройства выбирайте только качественный прибор, который прослужит вам долгие годы. Прежде чем покупать новый прибор, проконсультируйтесь со специалистом, который посоветует именно тот датчик, который подойдет именно вашей газовой плите или колонке.
Замена датчика термопары на газовом котле немного сложнее. В газовом котле чаще всего используют термопару из хрома и алюминия либо же из хромеля и копеля, реже используется железо-константа. Все эти металлы рассчитаны на высокий температурный режим, такие датчики часто используют в промышленности литейного производства.
Система контроля газового котла имеет в составе электромагнитный клапан и термопару.
Чтобы провести замену устройства, нужно выполнить ряд последовательных шагов.
- С помощью гаечного ключа открутить гайки, которыми закреплена термопара к электромагнитному клапану, после нужно достать один из концов термопары.
- Осмотреть разъёмы. Если на них присутствуют различные загрязнения или окисления, их необходимо зачистить. Для этого понадобится мелкозернистая наждачная бумага.
- Проверить с помощью мультиметра датчик термопары. Чтобы это сделать, приложите один из металлических концов устройства к мультиметру, а второй нагрейте с помощью зажигалки или горелки. Показатель мультиметра должен быть в пределах 50 мВ.
- После этого, если показатель соответствует данным, нужно собрать его в той же последовательности. Если нет, то, скорее всего, его придется заменить.
Замена термопары в духовке кухонной газовой плиты осуществляется иначе. Сначала нужно снять крышку газовой плиты, она находится на противоположной стороне от той, где располагается ручка крана духовки.
Снимите колпачок, но перед этим очистите его с помощью наждачной бумаги. Если клемма снята, то колпачок свободно вращается. Когда вы увидите центральный клапан, проверьте его. Если он неисправный, его нужно заменить. Снимите клемму, потянув ее пальцами книзу. Снимите колпачок и перекройте вентиль на газовом стояке, теперь можно подключить горелку и проверить работу устройства.
После этого с помощью ключа отвинтите гайку и проведите диагностику. Проверьте отдельно клапан и термопару.
Требования к пахнущим добавкам
Одоранты в малых концентрациях должны быть безопасны для человека
Топливо имеет специфический запах благодаря добавкам, которые вводятся в него на газораспределительных станциях (ГРС) непосредственно перед подачей к потребителям. Запах газа после одоризации напоминает сероводород или тухлые яйца.
К веществам, которые добавляют в газ, предъявляются следующие требования:
- Физиологическая безопасность. Человек и домашние животные не должны пострадать от контакта с ними.
- Отсутствие агрессивного воздействия на газопровод, в том числе на входящие в его состав устройства и механизмы.
- Придание газу достаточно выраженного запаха, чтобы он был обнаружен даже в небольшой концентрации.
Опытным путем такие вещества были созданы и стали добавляться в магистральные трубопроводы, в баллоны для плит и автомобилей.
Чистка
Если датчик перестал подавать сигнал на клапан-отсекатель, не стоит сразу его менять, нужно проверить термопару и возможно придется выполнить ее чистку.
Специфический признак такого сбоя можно определить следующими действиями:
- нажимают кнопку запальника;
- горелка зажигается;
- факел горит, до тех пор палец покоится на кнопочке;
- как только рука снимается с кнопки — пламя пропадает.
Это признак грязной термопары. Конец термодатчика размещается прямо около горелки и пламени. В духовке он также находится близко с рассекателем пламени вверху камеры. Эта часть термопары не должна иметь нагар, отложения и любых дефектов.
Когда рабочий участок термодатчика покрыт нагаром, то его очищают наждачной бумагой. Чем значительнее слой нагара, тем меньше тепловой энергии поступает к датчику и меньше создается ЭДС.
Выработанных милливольт вероятно не достаточно для запуска клапана-отсекателя. Если это действие не поможет нужно проверить работоспособность термопары.
Получение
Оксид азота(II) — единственный из оксидов азота, который можно получить непосредственно из свободных элементов соединением азота с кислородом при высоких температурах (1200—1300 °C) или в электрическом разряде. В природе он образуется в атмосфере при грозовых разрядах (тепловой эффект реакции −180,9 кДж):
N2+O2→2NO{displaystyle {mathsf {N_{2}+O_{2}rightarrow 2NO}}}
и тотчас же реагирует с кислородом:
2NO+O2→2NO2.{displaystyle {mathsf {2NO+O_{2}rightarrow 2NO_{2}.}}}
При понижении температуры оксид азота(II) разлагается на азот и кислород, но если температура падает резко, то не успевший разложиться оксид существует достаточно долго: при низкой температуре скорость распада невелика. Такое резкое охлаждение называется «закалкой» и используется при одном из способов получения азотной кислоты.
В лаборатории его обычно получают взаимодействием 30%-ной HNO3 с некоторыми металлами, например, с медью:
3Cu+8HNO3→3Cu(NO3)2+2NO+4H2O.{displaystyle {mathsf {3Cu+8HNO_{3}rightarrow 3Cu(NO_{3})_{2}+2NO+4H_{2}O.}}}
Более чистый, не загрязнённый примесями NO можно получить по реакциям:
FeCl2+NaNO2+2HCl→FeCl3+NaCl+NO+H2O,{displaystyle {mathsf {FeCl_{2}+NaNO_{2}+2HClrightarrow FeCl_{3}+NaCl+NO+H_{2}O,}}}2HNO2+2HI→2NO+I2+2H2O.{displaystyle {mathsf {2HNO_{2}+2HIrightarrow 2NO+I_{2}+2H_{2}O.}}}
Промышленный способ основан на окислении аммиака при высокой температуре и давлении при участии Pt, Cr2O3 (как катализаторов):
4NH3+5O2→4NO+6H2O.{displaystyle {mathsf {4NH_{3}+5O_{2}rightarrow 4NO+6H_{2}O.}}}
Получение NO является одной из стадий получения азотной кислоты.
Одоранты впрыска жидкости
Для систем очень большого объема (и для некоторых систем меньшего объема) производятся одоранты с впрыском жидкости. Эти одоранты работают за счет добавления небольших количеств жидкого одоранта к движущемуся газу. Насос, которым можно управлять для обеспечения необходимого диапазона скоростей добавления, является очень важным аспектом одоризатора этого типа
Компьютерное управление для контроля скорости потока и изменения скорости закачки является важной частью более современных версий этого. В предыдущих версиях отработано множество схем контроля уровня одоризации. Одоризатор Peerless был первым примером одоризатора этого типа
Одоризатор для природного газа Peerless был признан вехой в машиностроении Американское общество инженеров-механиков в 1992 г. Сообщается, что этот одорант был разработан в ответ на взрыв в Новой Лондонской школе, произошедший в марте 1937 года. Он был впервые отправлен в июле 1937 года. Одоризатор Peerless решил две основные проблемы предыдущих устройств: они позволили избежать проблем с негерметичными уплотнениями вала. путем инкапсуляции всего устройства в сосуд высокого давления и добавления одоранта пропорционально потоку газа с использованием газового счетчика для приведения в действие насоса одоранта
Одоризатор Peerless был первым примером одоризатора этого типа. Одоризатор для природного газа Peerless был признан вехой в машиностроении Американское общество инженеров-механиков в 1992 г. Сообщается, что этот одорант был разработан в ответ на взрыв в Новой Лондонской школе, произошедший в марте 1937 года. Он был впервые отправлен в июле 1937 года. Одоризатор Peerless решил две основные проблемы предыдущих устройств: они позволили избежать проблем с негерметичными уплотнениями вала. путем инкапсуляции всего устройства в сосуд высокого давления и добавления одоранта пропорционально потоку газа с использованием газового счетчика для приведения в действие насоса одоранта.





































