Интересные идеи для организации
Если не знаете, как должна выглядеть система хранения для гаража – ниже вы можете почерпнуть идей для организации.
Инструментальная панель
Самая простая система для хранения большинства инструментов. Инструментальная панель – это деревянный или металлический лист с отверстиями и штырями. За них и цепляются инструменты, что весьма удобно.
Встречаются 2 вида панелей:
Стационарная. Крепится непосредственно на стену с помощью саморезов. Обычно ее устанавливаются перед основным верстаком.
Передвижными. Устанавливаются на каркасе с колесиками. Может передвигаться в любом направлении, что удобно для больших мастерских.
Как им пользоваться? Обратите внимание на ручки ваших разводных ключей, молотков, угольников или щеток. На них есть сквозное отверстие, за которое можно вешать инвентарь. Для молотков рядом ставят два штыря, а он цепляется «башкой»
Кусачки, пассатижи подобный инструмент цепляется местом свода ручек
Для молотков рядом ставят два штыря, а он цепляется «башкой». Кусачки, пассатижи подобный инструмент цепляется местом свода ручек.
Панель для инструментов делается просто: возьмите фанеру, разметьте и вкрутите саморезы. Остается только повесить на стену или сделать раму.
Вот как выглядит самодельный стеллаж для инструментов.
Пластиковые контейнеры
Система хранения метизов должна быть под рукой, а значит необходима компактность. В магазинах продаются вот такие контейнеры из пластика. Они легко помещаются на рабочее место в гараже и не мешают.
Если постоянно приходится работать с кучей разного крепежа, воспользуйтесь такими пластиковыми контейнерами. Подобный органайзер для саморезов подойдет в качестве временного хранения.
Кстати, в продаже встречаются такие стенды для инструментов, где есть крепления для таких контейнеров.
Можно неплохо сэкономить и сделать органайзер для сверл и метизов своими руками. Для этого обрежьте пластиковые канистры, как на фото.
Организационные ящики
Органайзеры для хранение инструментов удобны, если нужно где-то держать кучу расходников и мелочевки. В продаже встречаются следующие разновидности:
Органайзер для гаечных ключей. Зачастую они продаются в матерчатой упаковке, что для хранения неудобно. В этом случае будет правильнее купить стойку, которая прикручивается к стене.
Для сверл. Что не хранить их в коробочке или банке, купите вот такую подставку.
На корпусе написаны диаметры, поэтому с поиском проблем не возникнет. Если не хотите платить, вы можете сделать ее самостоятельно.
Органайзер для отверток. Можно заказать из Китая такие пластиковые держатели. Они удобны, но недолговечны. Все детали сделаны из пластика, поэтому система хранения инструмента долго не проживет.
Подставку вы также можете смастерить из дерева или втулок.
Если вам нужен многофункциональный органайзер для инструментов на стену — приобретите вот такую полку. Она многофункциональна и хранить здесь можно плоскогубцы, отвертки и сверла.
Стойка для садового инструмента
Не только рабочий инструмент занимает место в гараже. Не стоит забывать про садовый инвентарь, который всегда занимает много пространства, а положить его в ящик для хранения не получится.
Впрочем, решить это просто – выделить одну стену под инструмент для сада и огорода. А вот идеи, как их можно разместить:
Покупная стойка. Они не очень дорогие и продаются во всех строительных магазинах. Удобны тем, что можно разместить инструмент красиво. Минус покупной стойки в ее негибкости. Вы не сможете добавить новые отсеки для инструмента, и придется покупать еще один настенный держатель.
Самодельная стойка из ПВХ труб. Дешево и «сердито». Чтобы ее сделать, нужно установить брусок возле пола. На определенной высоте к стенке прикрутить обрезы ПВХ труб. В брусок будет упираться ручка, а обрезки не дадут ей упасть.
Крючки. Обычные мебельные крючки помогут красиво разместить инвентарь на стене. Устанавливать можно на любой высоте. Добавляются крючки по надобности и много места они не занимают.
Продольное расположение. На определенном расстоянии к стене прибиваются колышки. На них просто кладется инструмент, что удобно в больших гаражах.
Магнитная лента
Если хочется, чтобы инструмент для гаража всегда был под рукой – купите магнитную ленту. Стоит дешево, продается во всех магазинах. Встречаются ленты разной длины.
Наводим порядок в гараже
Начнем с внешнего обновления. Зимние морозы, снег и ветер, наверняка, сделали свое дело: где-то прохудилась крыша, ободралась краска, что-то требует радикальной замены, а что-то только легкого ремонта. Вооружившись необходимым материалом, краской и инструментами, устраняем все последствия зимней непогоды. Проверяем и ремонтируем крышу. При необходимости приводим в порядок дверь, смазываем все, что могло проржаветь от сырости и влаги. Очищаем от мусора и прошлогодних листьев прилегающую к гаражу территорию.

После этого переходим внутрь помещения и действуем по заранее разработанному плану. Основная ошибка многих из нас – это неправильное использование пространства гаража, что со временем превращает его в большую свалку. И, чтобы раз и навсегда навести порядок в гараже, нужно знать, что и как долго мы в нем храним. А потому шагом номер один будет сортировка.
На этом этапе нам пригодятся большие мешки для мусора. Просматриваем все, что есть в гараже: перебираем, сортируем и все, что не нужно, выбрасываем без сожаления. Для этого лучше всего вытащить все из гаража наружу. И, поочередно открывая ящики и коробки с накопившимися семейными «реликвиями», раскладываем их содержимое в две кучки: «оставить» и «выбросить».
Все, что попало в кучку «оставить», снова аккуратно складываем в коробки. Удобно хранить инструменты, одежду и мелкий спортивный инвентарь в недорогих пластиковых контейнерах, которые надежно защищают от влаги и вредителей-грызунов (картонные коробки в этом случае не очень хороши). К тому же их можно сложить вдоль стен, не загромождая пространство для стоянки автомобиля. Коробки можно подписать большими буквами, что поможет, в случае надобности, быстро найти нужную вещь.

Какие-то вещи из кучки «выбросить» можно отдать тем, кто в этом нуждается, или даже что-то продать. Остальное нужно без сожаления выбросить на свалку. Перед тем, как водрузить оставшиеся вещи на полки и стеллажи, нужно очистить их и все помещение от грязи, пыли и мусора (если возможно, с использованием воды и моющих средств).
Хранение гаражных инструментов, как это сделать рационально и удобно?
Начнём с того, как можно упростить наведение порядка. Конечно же, необходимо определить, какими предметами Вы пользуетесь чаще всего. Возможно, некоторые давно не применяются и лежат «мёртвым грузом»? Следующий совет – сгруппировать кое-что в наборы, а многофункциональные инструменты собрать в отдельный контейнер.
Рассмотрим основные варианты размещения гаражного инвентаря с использованием пространства здания:
- полки (закрытые, навесные, стационарные, передвижные);
- стеллажи;
- шкафы;
- стенды;
- щиты;
- подставки;
- рейлинги;
- магнитные ленты;
- ящики.
Полки в основном изготовляют из металла или дерева. Навесные полки предназначены для маленьких предметов, поэтому их размещают чуть ниже уровня глаз. Особенно целесообразно использование съемных полочек.
Для частой эксплуатации подходят открытые модели. При создании шкафа стоит оборудовать его выдвижными ящиками. На дверцах и боковых стенках можно установить крепления для всевозможных орудий, аппаратов, электроинструментов.
Банки и пакеты отлично располагаются на металлических сетках. Для укладывания труб, фанерных досок, обрезков пластика и гипсокартона можно соорудить пристенный стеллаж, верстак либо стеллаж из лестницы.
Мелкие детали – гвозди, шурупы, болты, гайки, саморезы – найдут своё место в обрезанных пластиковых канистрах. Ещё очень легко самостоятельно создать подставку (наборную панель) для содержания отвёрток в вертикальном положении: соорудить деревянный каркас и проделать отверстия.
Отличный способ избежать запутывания множества клемм и проводов – натянуть бельевую верёвку. Некоторые предметы можно размещать при помощи тремпелей для одежды или хранить в современных складных ящиках. Пенопластовые накладки монтируются для лёгкого расположения на них ключей, фрез, сверл.
Как изготовить трубогиб
У владельцев приусадебных хозяйств часто возникает необходимость согнуть трубы или полоски из металла, например, при изготовлении самостоятельно теплицы или прокладке системы водопровода. Существует очень много решений этой задачи. Один из вариантов представлен на фото.
Самодельный трубогиб
Для изготовления трубогиба понадобится:
- Дерево.
- Три полиуретановых килевых ролика для лодочного прицепа, которые фиксируются гужонами на валах от прокручивания.
- Стальные уголки, удерживающие вальцуемую трубу в перпендикулярном положении и не дающие ей согнуться в спираль.
- Шпилька и гайка или пластина с резьбой. Эти элементы нужны для затяжки ролика снизу. При каждом прокатывании трубы гайка или пластина с резьбой затягиваются на пол оборота. В случае, если нужно сделать изгиб не большого радиуса, а окружность получилась правильной формы, может понадобиться произвести от 50 до 100 прогонов.
- Рукоятка с кронштейном, для вращения прижимного ролика.
Трубогиб — вид снизу
Порядок работ имеет такую последовательность:
- Вырезаются деревянные заготовки.
- Сверлятся отверстия под оси.
- Собираются оси с роликами.
- В вертикальные стойки вставляются подшипники для осей.
- Собранные узлы монтируются на основание трубогиба, крепятся направляющие уголки.
- Наверх стойки основания фиксируются направляющие пластины.
- Собирается верхняя часть инструмента. Вставляются вал с роликом и ручкой, устанавливается шпилька или длинный болт снизу для прижимной гайки.
Особое внимание при изготовлении инструмента нужно уделить расстоянию между роликами. Каждая труба имеет минимальный радиус сгиба. Чем больше расстояние между роликами, тем он будет больше
Чем больше расстояние между роликами, тем он будет больше.
Усилий для изгиба в этом случае требуется меньше, а конец трубы останется не прокатанным. Ход прижимного ролика необходимо делать как можно длиннее.
Эти моменты необходимо учитывать на стадии проектирования и предусмотреть возможность роликам менять свое положение при необходимости. Поэтому для того, чтобы трубогиб можно было использовать неоднократно, размеры инструмента нужно брать с некоторым запасом.
Постановка задачи
Прежде чем начинать что-либо делать, нужно чётко и как можно подробней сформулировать свои желания. А потом эти желания соотнести со своими возможностями – с наличием финансов, стройматериалов. Умения претворять эти желания в реальность. У профессионалов этот процесс называется «Разработка технического задания». В нём обозначается цель работы, представление о конечном результате, способы её выполнения, указываются необходимые инструменты и технические средства. Рассчитываются финансовые затраты.
Гараж может быть построен на одну машину, на две и даже на три. Строить можно из железа, из дерева, из камня. Кому-то хватает одного этажа, кто-то хочет два, а с учётом смотровой ямы − и три этажа получается.
ФОТО: prometal.ruРабочее место в гараже
ФОТО: advokat144.comИндивидуальный гараж на две машины
Существуют варианты на много машин, но для каждой машины при этом имеется индивидуальный бокс, полностью изолированный от других подобных боксов. Объединяют их строительные конструкции и общая зона въезда-выезда. Внутри своего бокса каждый владелец по своему усмотрению организует внутреннее пространство.
ФОТО: kadastr-plan.ruКомплекс индивидуальных гаражей
Обязательным для выполнения является требование к полу гаража. Нагрузка на него существенная, лучше всего пол залить бетоном марки не ниже М300, а сверху уложить полимерно-декоративное покрытие.
Необходимое оборудование
Для обычной смены колеса или замены диска, проведения самых обычных работ под капотом авто вполне хватает стандартного набора инструментов и домкрата. Но чтобы выполнить более сложные работы – необходимо специальное оборудование.
Верстак
Верстак с ящиками для инструментов
Для изготовления верстака лучше всего использовать дерево и металл. Рабочую зону лучше всего покрыть куском металла, предохранив дерево от быстрого износа. Верстак лучше делать в два или три уровня, чтобы расположить как можно больше необходимых вещей.
Сварочный аппарат

Для обычного ремонта кузова вам будет достаточно сварочного аппарата либо с вольфрамовыми электродами, которые находятся в среде защитного газа, либо углекислотного аппарата, который сваривает металл проволокой.
Водомаслоотделитель

Такой аппарат используют, чтобы очищать воздух от паров, капель масла, воды и иных мелких частиц, которые могут присутствовать в нем. Это очень удобное устройство, используемое при окраске авто, и способствующее равномерному распределению краски по металлу.
Мойка
Конечно, речь идет не о профессиональной мойке. А всего лишь о той, которую может оборудовать в своем гараже каждый. Для этого вам просто будет необходимо подвести шланг или трубу для подачи воды в гараж и сделать слив в канализацию. При этом помните, что электропроводка и освещение будут нуждаться в более тщательной защите.
Качественная вентиляция и освещение
Вентиляция в гараже схема
Очень важно создать в гараже качественную вентиляцию, она не только избавит помещение от неприятных и вредных запахов, но и защитит его от образования сырости и излишней запыленности. Вентиляционные отверстия обычно делают с обеих сторон от ворот на небольшой высоте и закрывают решетками
Такие же отверстия делаются и на противоположной стене, но уже под потолком
Вентиляционные отверстия обычно делают с обеих сторон от ворот на небольшой высоте и закрывают решетками. Такие же отверстия делаются и на противоположной стене, но уже под потолком.
Верхнее освещение гаража
Конечно, самое лучшее освещение – это естественное, поэтому при возможности стоит подумать о наличии окна. Если такой возможности нет – сделайте тогда несколько зон освещения: над рабочей областью, общее и переносное, которым можно подсветить самое необходимое.
Пользуясь нашими советами и рекомендациями по самостоятельному оборудованию помещения под гараж, вы сможете получить прекрасное и удобное пространство для обслуживания вашего автомобиля.
Создание полезных приспособлений для гаража своими руками
Чтобы осуществлять ремонтные и сервисные работы, потребуется соорудить смотровую яму в гараже своими руками, размеры которой будут соответствовать габаритам авто, а также верстак для удобной работы, плюс снабдить помещение станками.
Основной набор инструментов и материалов для создания самодельного верстака для гаража включает:
- доски и деревянные бруски;
- крепежные элементы и стяжки;
- рубанок и другие инструменты для обработки дерева;
- лакирующий и столярный клеевые составы;
- наждачную бумагу и олифу.

Пример размещения в гараже полезных приспособлений: 1 — верстак с ручными станками, 2 — стеллажи и шкафы, 3 — стол для проведения различных ремонтных работ, 4 — полка для хранения шин, 5 — смотровая яма
Технология изготовления верстака в гараже своими руками: фото, чертежи
Верстак состоит из столешницы и подстолья, а также нескольких устройств зажимного типа. Высоту верстака в гараже следует подбирать с учетом собственного роста. Можно взять в качестве ориентира высоту кухонного стола в доме, за которым удобно работать. Обязательно составьте для создания верстака для гаража своими руками чертежи.
Обустройство гаража: как сделать верстак в помещении:
| Этап работы | Детали, размер в см | Тип крепления |
| Сборка столешницы | 20 досок (5х10х200) с пазами 2,5х2,5 в 5-ом и 16-ом элементе (шаг 25) | Клеевой состав металлические стяжки |
| Сушка | — | — |
| Изготовление ножек (4 шт.) | Брусок (10х10х80) с пазами под кронштейны на передних опорах | Кронштейны |
| Сборка основания подстолья | Рамы (2 шт.) из досок (5х10) | Соединение «в шип» на глубину 2,5 см и болты |
| Фиксация боковых и задних опорных стенок | Плиты ДСП (толщина 10 мм) | Шурупы |
| Фиксация столешницы к верхней раме | — | Болты |
Заключительная обработка предполагает пропитку готового изделия олифой и вскрытие лаком.
Рекомендации по созданию смотровой ямы в гараже своими руками
Не существует определенных размеров смотровой ямы в гараже. В качестве основы берутся габариты автомобиля.
Как сделать смотровую яму в гараж с оптимальными параметрами:
- Ширина подбирается с тем расчетом, чтобы внутри было достаточно места для работы. Размер ограничен расстоянием, на которое посажены колеса авто. Каждое колесо нуждается в небольшой площади для выполнения маневров. Средняя ширина ямы составляет 0,8 м.
- Длина ямы ограничивается длиной машины. К этому показателю следует добавить 1 м.
- Для расчета глубины используется рост владельца гаража. К нему прибавляется еще 10-15 см.
Как правильно сделать смотровую яму в гараж с использованием разных материалов:
| Материал | Толщина стенок, см |
| Керамический кирпич | 12-25 |
| Бетон | 15 |
| Строительные блоки | 20 |
Котлован вырывается с учетом оптимальной ширины ямы, материала, выбранного для стенок, а также толщины гидроизоляционного слоя. Этапы создания ямы:
- разметка;
- строительство котлована;
- обустройство котлована;
- строительство стен;
- прокладка освещения.
Для гидроизоляции стен применяется специализированная гидрофобная пропитка.

Схема обустройства смотровой ямы: 1 — стенки из пеноблоков, 2 — гидроизоляция, 3 — бутовая кладка. 4 — уголок размером 50х50х4 мм
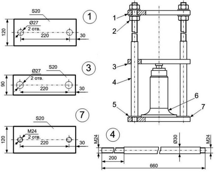
Изготовление пресса для гаража своими руками
Для создания пресса следует изготовить из 4 отрезков металлических труб каркас размером 178х80 см. Эти элементы соединяются методом сварки. В работе рекомендуется руководствоваться чертежами, заранее подобранными или составленными. После этого нужно установить:
- фиксатор;
- съемный упор;
- бутылочный домкрат (гидравлический).
Можно использовать для рассмотрения подробной технологии создания полезных приспособлений для гаража своими руками видео-материалы. Такие наглядные рекомендации помогают сориентироваться в размерах, освоить пошаговые инструкции и представить, какой внешний вид должна иметь готовая конструкция.

Схема изготовления гидравлического пресса: 1 — верхняя силовая платформа, 2 — гайки, 3 — нижняя платформа, 4 — шпильки диаметром 30 мм, 5 — нижняя резьба шпилек, 6 — гидравлический домкрат бутылочного типа; 7 — основание толщиной 20 мм
Обустройство гаража можно сделать собственными руками. На этом список полезных приспособлений не заканчивается. Его всегда можно дополнить любыми интересными идеями. Главное, чтобы гараж полностью соответствовал личным требованиям в отношении комфорта и удобства.
https://youtube.com/watch?v=D1BKvgCBg8Q
Полезные советы по обустройству пространства в гараже
Поскольку гараж по своему прямому предназначению является домом для авто, следует внимательно отнестись к тому, чтобы место под инструменты было хорошо организовано. Также в помещении наверняка найдется несколько квадратных метров для того, чтобы вынести часть предметов из квартиры, чтобы не загромождать жилое помещение.
При монтаже различных устройств в помещении важно учитывать, чтобы все доступное оборудование было под рукой. Для этого можно воспользоваться следующими рекомендациями:
Вне зависимости от размеров гаража важно иметь стеллаж с полками, на которые можно положить инструменты, материалы и полезные мелочи.
Если есть желание осуществлять текущий ремонт авто своими руками или совершать другие ремонтные работы, то в гараже обязательно нужно смастерить верстак.
Для капитального ремонта автомобиля следует сделать свой собственный погреб – он не только позволит регулярно осматривать механизм, но и даст дополнительное пространство для хранения.
Наконец, для гаража вполне реально обустроить под собственный небольшой цех, приспособления для которого также можно смастерить своими руками.
Рациональная организация пространства в гараже создает много ощутимых преимуществ:
- появляется возможность самостоятельного осуществления мелкосрочного ремонта деталей авто и других механизмов, за счет чего можно значительно сэкономить средства;
- удобное размещение инструментов значительно ускоряет ход работы и экономит время;
- создание дополнительных мест для хранения инструментов, старых вещей, одежды дает возможность разгрузить квартиру от вещей, которые редко используются в домашнем хозяйстве;
- наконец, продуманная внутренняя логистика помещения позволяет ему сохранить свой привлекательный внешний вид и избежать захламления.
Обустройство смотровой ямы
Наличие смотровой ямы зависит от условий. Если вы никогда не ремонтировали автомобиль самостоятельно, а обращаетесь в автомастерскую, то он вам не нужен. Некоторые имеют общественную эстакаду около гаража, надобность ямы тоже отпадает. В остальном – это полезная часть гаража.
Только при ее устройстве важно соблюдать некоторые правила. Например, стены ямы и ее дно бетонируется с добавлением в раствор гидроизолятора, так как яма источник сырости. Края конструкции укрепляются металлическими уголками
На низ будет удобно укладывать щиты, решетку или доски, закрывающие яму
Края конструкции укрепляются металлическими уголками. На низ будет удобно укладывать щиты, решетку или доски, закрывающие яму.
В углу важно предусмотреть дренажный колодец для сбора воды. Она попадает внутрь разными способами. Это конденсат в гараже, протечки кровли, а также влага с самого автомобиля после езды
Размер колодца должен позволять свободно входить ведру. Так вычерпывание жидкости упрощается. Останется закрыть колодец решеткой
Это конденсат в гараже, протечки кровли, а также влага с самого автомобиля после езды. Размер колодца должен позволять свободно входить ведру. Так вычерпывание жидкости упрощается. Останется закрыть колодец решеткой.
Чтобы во время работы не подыматься из ямы и удобно хранить инструменты, в стенке сделайте нишу для них. Так как в яме темно, светильники не будут лишними. Еще яму можно использовать как погреб или склад. Она не всегда используется, поэтому туда сложите старые колеса, мелкое оборудование для выполнения ремонтных работ.
Этапы проектирования и монтажа стеллажных конструкций
Мастер, который хочет сэкономить денежные средства, вполне может изготовить стеллажи для вещей своими руками, причем осуществить это можно с помощью подручных предметов.
В качестве материалов стоит использовать металл или дерево. Небольшие предметы вполне могут разместиться на навесных полочках, которые, в основном, размещают на уровне подбородка хозяина гаража. Если инвентарь используется часто, его лучше всего оставить в открытых конструкциях.
Некоторые владельцы гаражей отдают предпочтение именно заводским стеллажам для хранения тех или иных предметов, которые, в свою очередь, изготавливаются согласно ГОСТу. Эти приспособления отличаются удобством, и их также достаточно смастерить самостоятельно. Для хранения больших приспособлений понадобятся, соответственно, вместительные стеллажи.
Тем, кто желает видеть в гараже шкаф для инструментов, можно посоветовать сделать его собственноручно
Важно, чтобы конструкция имела специальные выдвигающиеся ящики. Именно такой способ хранения вещей позволит обезопасить их от пыли
Также весьма рационально будет задействовать и боковые стенки. Благодаря особым креплениям для инструмента можно оборудовать место для рубанка. Дверцы послужат отличным местом для расположения держателей из остатков резинового шланга.
Стенд для инструментов – также отличная и незаменимая вещь в гараже, которая легко изготавливается из обычного листа ДСП.
Многофункциональный стеллаж
Чтобы сделать универсальный стеллаж для хранения инструментов, можно взять деревянный поддон, дополнив его полочками из досок, использовав также настенные крепления. Таким образом, в гараже появится стенд, где можно будет хранить нужные для работы предметы.
Подвесная полка для электроинструментов
Независимо от того, какой величины гараж, всегда кажется, что места недостаточно. Поэтому можно смело использовать пространство под потолком, сделав подвесные полки – на них удобно держать инструмент, который редко используется.
Напольная стойка для шин
Чтобы разместить шины, также пригодится ненужный деревянный поддон, который легко превратить в подставку, куда их можно разложить. Такая организация пространства позволит сократить место, занимаемое предметами.
Шкафчики
Развесить шкафчики – хороший выход при желании освободить пространство на полу. Этот вариант подойдет для хранения красок, особенно в баллончиках, которые зачастую вечно валяются по помещению в хаотичном порядке.




































